Vous avez sélectionné le Cuisiniste Conseil de BONNY-SUR-LOIRE. Consultez dès à présent ses produits, créez vos projets et prenez rendez-vous !

Vous avez sélectionné le Cuisiniste Conseil de LA FLECHE. Consultez dès à présent ses produits, créez vos projets et prenez rendez-vous !

Rangement & meuble salle de bains
Rangement & meuble salle de bains
Cuiséo & Moi
Cuiséo & Moi
Les étapes de mon projet Les étapes de mon projet

Un accompagnement de A à Z par nos spécialistes du mobilier et de l'électroménager.

Pourquoi choisir Cuiséo ? Pourquoi choisir Cuiséo ?

Des professionnels Cuisinistes Conseil, qualifiés et reconnus pour leur savoir-faire.

Préparer son rendez-vous Préparer son rendez-vous

Pour un entretien efficace et des propositions précises !

Nos services & garanties Nos services & garanties

Tout est mis en place pour faciliter la bonne réalisation de votre projet.

Parrainer un ami avec Cuiséo Parrainer un ami avec Cuiséo

Partagez votre satisfaction avec un proche : 200 € pour lui, 100 € pour vous !

BLANCO - 521543 - Mitigeur - sans douchette

Robinet de cuisine

329,00 €
Mitigeur CORESSA-F chromé - Ouvrez la fenêtre sans entrave, en un seul geste - Mécanisme pratique permettant de rabattre le bec du mitigeur vers l'avant - Système rabattable avec amorti intégré et fix...

Nos clients ont également acheté

Nos clients ont également consulté

Advice image

Besoin d'un conseil ?

Votre

Cuisiniste

Cuiséo est disponible !

04 76 38 02 51

Toutes les caractéristiques du produit

Mitigeur avec bec :

en col de cygne

Couleur :

chromé

Labels

Le + produit :

Spécial fenêtre

Description

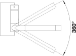
Mitigeur CORESSA-F chromé - Ouvrez la fenêtre sans entrave, en un seul geste - Mécanisme pratique permettant de rabattre le bec du mitigeur vers l'avant - Système rabattable avec amorti intégré et fixation de sécurité - Hauteur minimum entre l'évier et le battant de la fenêtre : 6,5 cm - Levier de commande à droite - Bec haut permettant de remplir facilement casseroles et vases - Régulateur de jet breveté réduisant nettement les dépôts de calcaire - Mobile : écoulement orientable à 360°- Perçage de Ø 35 mm requis - Cartouche à disques céramiques - Tuyaux de raccordement flexibles de 450 mm de longueur avec écrou de 3/8 pour un montage particulièrement simple et sûr - Plaque stabilisatrice augmentant la stabilité du robinet lors de l’encastrement dans les éviers en inox - Garantie 2 ans.

Description du produit

Poids net :

1.5 Kg

Dimensions :

H = 35,6 cm

Lieu de fabrication :

Chine

Fiche produit constructeur / fournisseur :

Télécharger

Opérateur économique responsable :

Blanco France<br />400 rue de l'étang<br />57151 MARLY France<br /><a href="mailto:info@blanco.fr">Email</a> / <a href="https://www.blanco.fr" target="_blank">Site web</a>

Disponibilité des pièces détachées :

10 ans (donnée constructeur)

Découvrez tous les services Cuiséo

Plan 3D
et devis gratuit

Garantie meuble
et électroménager

Un interlocuteur
unique spécialiste

Une conception
sur-mesure